Universal Scientific Industrial

财务信息 (吃黄瓜有什么好处)

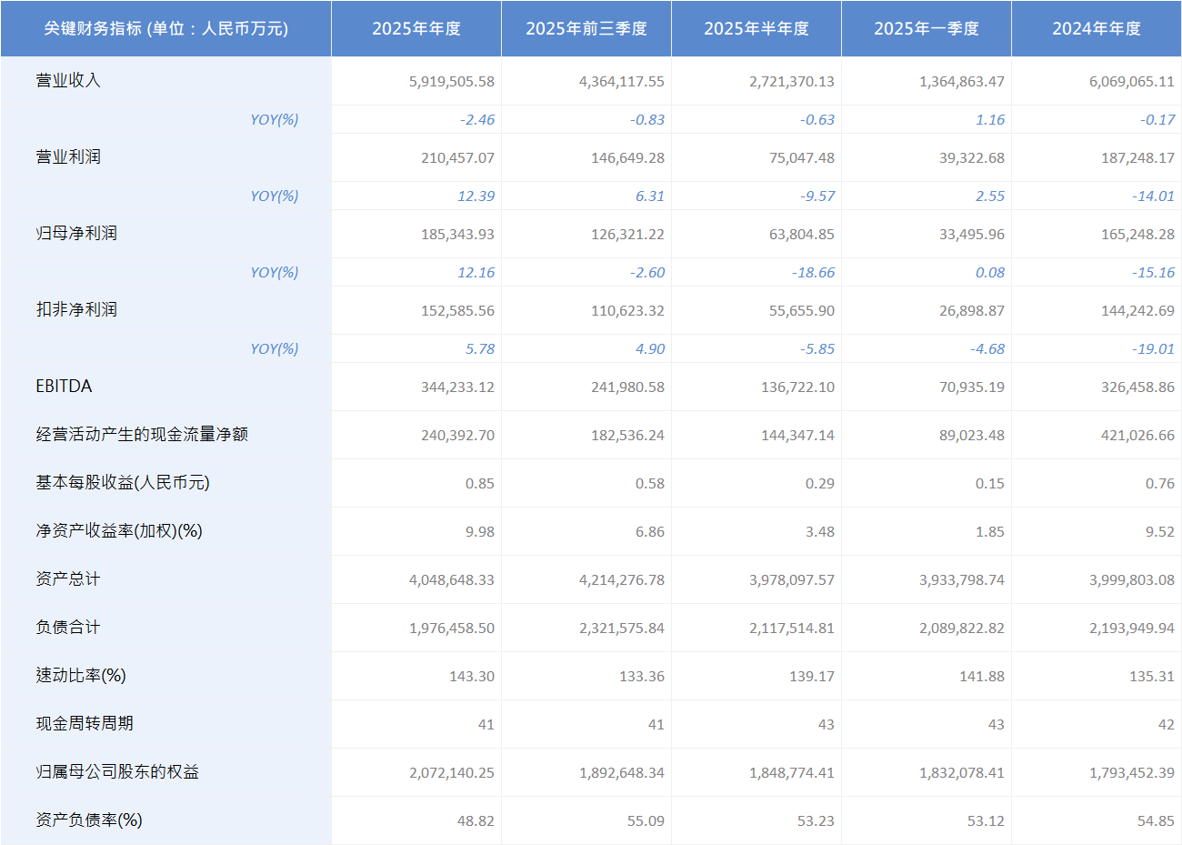
关键财务指标

黄瓜网站
免责声明
本网站所载营收资讯、业绩快报、财务报表及定期报告等信息,是按照监管要求的日期所提供的资讯。部分报表与资料涉及已知或未知风险因素,可能因时间或后续事件的发生致使上述信息不完整或不正确。本公司特此声明,对有上述声明中提及时间性及预测性的信息,不负任何修订或更新责任。
Universal Scientific Industrial
Universal Scientific Industrial

请输入关键字

告诉USI您的想法

请您花几分钟时间留下意见
回馈意见采匿名式

订阅 USI 电子报

跟紧产业脉动随时掌握第一手产业创新科技 黄瓜视频网站. 应用与深度新闻.

前往订阅
已经订阅
Universal Scientific Industrial
忘记帐户名称? (黄瓜网站)

请发送电子邮件到___UNIFIED_EMAIL_1___ 寻求协助

请使用微信扫描此 QR 码后分享